Типоряд широкоапертурных источников ионов ИИК 120, ИИК 200
(интересные и до сих пор актуальные старые разработки)
Предназначен для следующих технологических операций:ОБЛАСТЬ ПРИМЕНЕНИЯ
ОТЛИЧИТЕЛЬНЫЕ ОСОБЕННОСТИ
ТЕХНИЧЕСКИЕ ХАРАКТЕРИСТИКИ
|
ИИК 120
|
ИИК 200
|
|
|
Диаметр ионного пучка, мм
|
120
|
200
|
|
Плотность тока ионного пучка j, мА/см2
|
<1
|
<0,6
|
|
Извлекающее напряжение Uуск, кВ
|
0,2-4
|
0,2-4
|
|
Неравномерность плотности тока ионного пучка по сечению, % не более
|
5
|
5
|
|
Ток разряда Ip, А
|
0,3-0,8
|
0,4-1,2
|
|
Напряжение разряда Uр, В
|
240-360
|
300-380
|
|
Давление в области дрейфа ионного пучка при скорости откачки не менее 4 м3/с, Па, не более
|
2X10-2
|
3X10-2
|
|
Срок службы
|
неограничен
|
|
|
Срок непрерывной работы до проведения профилактических работ, ч, не менее
|
1000
|
|
|
Рабочие газы
|
Кислород, аргон, водород
|
|
ОПИСАНИЕ
Широкоапертурные источники ионов позволяют получать пучки ионов площадью десятки сантиметров квадратных с энергией до 4 килоэлектрон-вольт и с током ионного пучка сотни миллиампер.
Низкоэнергетический холловский источник ионов
Низкоэнергетический холловский источник ионов предназначен для ассистирования процессов ионно-лучевого осаждения металлических покрытий (омических контактов) в установке двойного ионно-лучевого осаждения-распыления и для ассистирования процессов нанесения многослойных оптических функциональных покрытий методом электронно-лучевого испаренияОБЛАСТЬ ПРИМЕНЕНИЯ
ОТЛИЧИТЕЛЬНЫЕ ОСОБЕННОСТИ
| Габаритные размеры |
D150х240 мм2
|
| Режим работы |
Стационарный
|
| Диаметр пучка |
до 100 мм
|
| Энергия ионов |
20-150 эВ
|
| Плотность ток пучка ионов |
до 5 мА/см2
|
| Давление в области дрейфа ионного пучка при скорости откачки не менее 1 м3/с |
не более 2х10-2 Па
|
| Рабочие газы |
Ar, О2, N2
|
ОПИСАНИЕ
Плазменный модуль СВЧ для обработки поверхностей
Плазменный модуль СВЧ предназначени для финишной очистки электропроводящих и диэлектрических деталей сложной формы(режущих и резьбовых кромок в том числе); удаление загрязнений органической природы (следов масла, химических реактивов, отпечатков пальцев) на рабочей поверхности изделий, в том числе медицинского и научно-технического применения; финишная обработка стеклянных и керамических изделий; обработка оптически гладких поверхностей и участков.
ОБЛАСТЬ ПРИМЕНЕНИЯ
ОПИСАНИЕ
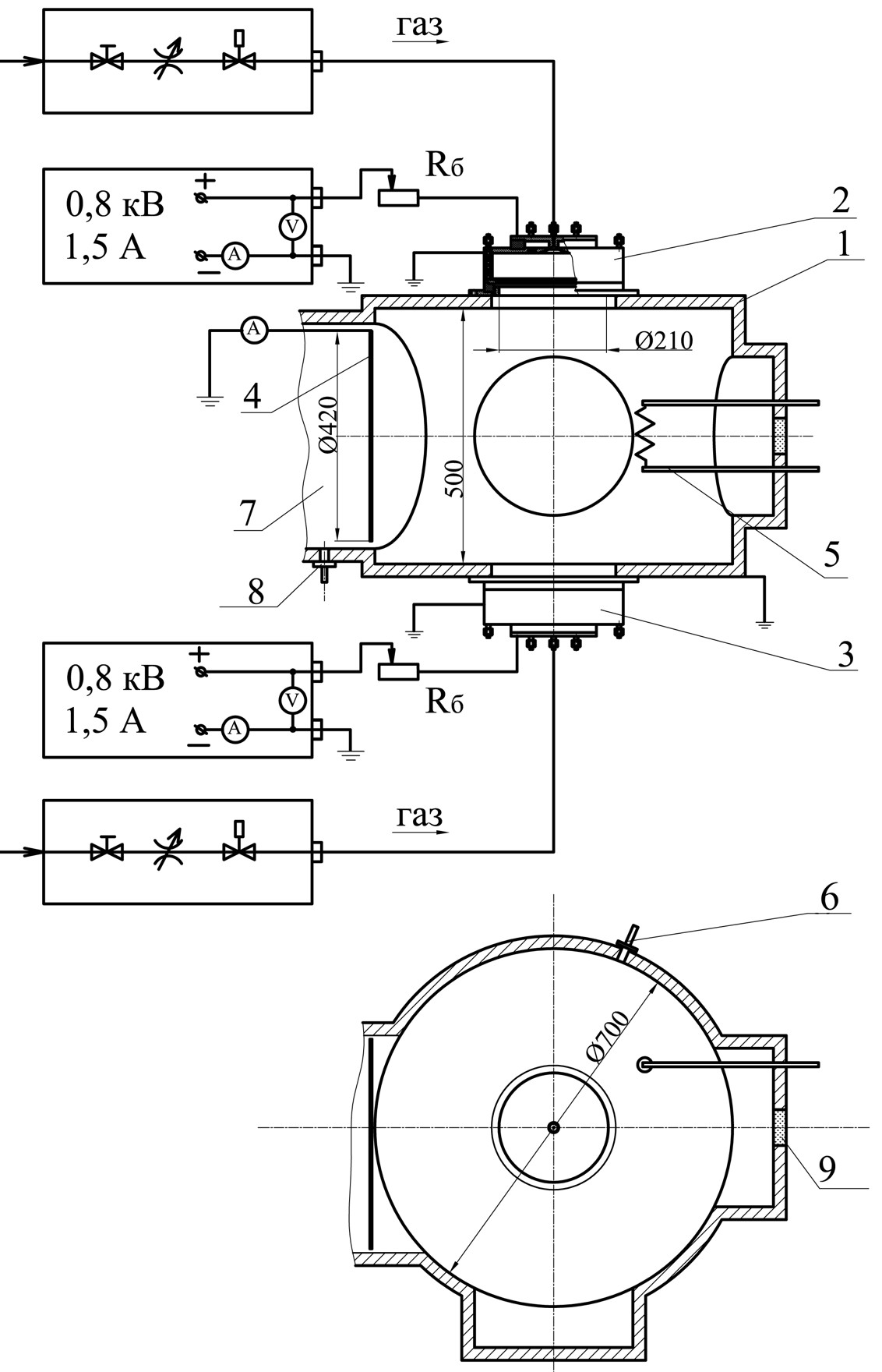
Макет газоразрядного источника ионов диаметром 420 мм

1 - полый катод (вакуумная камера установки УВН-75, Æ420 мм)
2, 3 - разрядные камеры двухкаскад-ногосамостоятельного разряда,
4 - эмиссионный электрод
5 - термокатод
6 - датчик давления
7 - переходная область
ТЕХНИЧЕСКИЕ ХАРАКТЕРИСТИКИ
|
напряжение разряда |
320…360 В |
|
ток разряда |
0,4…0,6 А |
|
давление в полом катоде |
0,8…1,6×10-4Тор |
|
рабочее давление |
0,6…0,8×10-4Тор |
|
ускоряющее напряжение |
400 В |
|
ток эмиссионного электрода |
до 300 мА |





